多袋式過濾器原理圖
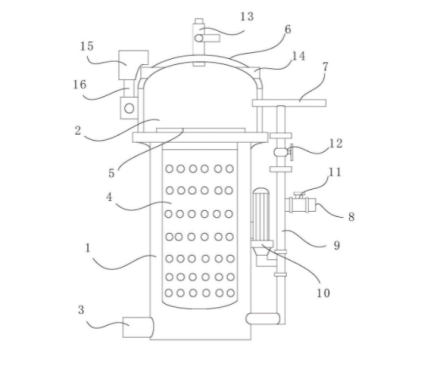
多袋式過濾器整體結構圖如下所示
多袋式過濾器整體有搖臂,上蓋,進出水口,濾袋,金屬網籃,排氣閥,壓力表等部分組成。

側入式多袋式過濾器液體從側方進入不銹鋼罐體,受到設備本身壓力的沖擊,液體向濾袋四周均勻的展開,干凈的液體透過濾袋,由底部出水口流出,濾渣則被攔截在濾袋內部。

多袋式過濾器相關參數
技術參數
水處理系統工作壓力:0.2-1.0Mpa;
多袋式過濾器反洗需要水壓:>=0.18Mpa;
待過濾液體介質可允許最高溫度:60℃;
電源電壓:AC220V1A;
控制輸出電壓:每路DC24V1A;
控制方式:壓差、定時、手動;
自動化程度:半自動半人工;
進出水口管路材質:碳鋼、不銹鋼、HDPE等;
性能參數
殼體材質:CS、304、316L、C276、2205,濾芯溶噴、玻纖、PP、PTFE
密封圈材質:標準丁睛,可選氟橡膠,PTFE
過濾精度:1微米-600微米
耐溫:80℃
耐壓:1.6Mpa
流量:10-500M3/H
濾袋壽命:6個月
品牌參數
過濾器名稱 :多袋式過濾器
品牌:水天藍
產品規格:5寸/10寸/20寸
產品材質:304/316L不銹鋼
產品壁厚:1.2mm
產品接口:4分/6分/1寸
濾袋數量 :3、4、5、6、7、8、9、10、11、12
濾袋的材質 : PE、PP、尼龍、不銹鋼
過濾器接入方式:側進底出、上進底出
樣式:立式
供貨方式:現貨
接口方法:法蘭接口
產地:深圳
濾袋口徑:1、1.2、1.5、2、2.5
聯系方式:13530329790
多袋式過濾器使用時要連接在對應的產品線上,設備連接時要注意進出水接口口徑要相符,并且進出水口直徑要與過濾器接口對應上。一般說來,多袋式過濾器的進出水口都是法蘭接口,相比較與其他接口來說,法蘭接口穩定性更強,側漏幾率更低,更符合工業生產需求。
本文由水天藍環保(http://m.bfaxl.cn/)原創首發,轉載請以鏈接形式標明本文地址或注明文章出處!



客服1